Позвони нам сейчас
Стационарная линия: +86-750-6688281
Телефон: +86-13392072868
Телефон: +86-13302589039
| штат: | |
|---|---|
| Количество: | |
| P Art название | SK130-8 SK140 Swing Gearbox | |||||
| Оборудование | Подать заявку на экскаватор Hyundai | |||||
| Часть №. | YY32W00004F1 | |||||
| №1 зубы сплайки солнца | 18 сплайнов | |||||
| Свинг -шестернит зубы | 13 т | |||||
| Условие предмета | Новый | |||||
| Логотип | ФУНТ | |||||
| Вес брутто | - | |||||
| Могил | 1 шт | |||||





| Поступок | ЧАСТЬ НЕТ | QUTY | Имя детали | Комментарии |
|---|---|---|---|---|
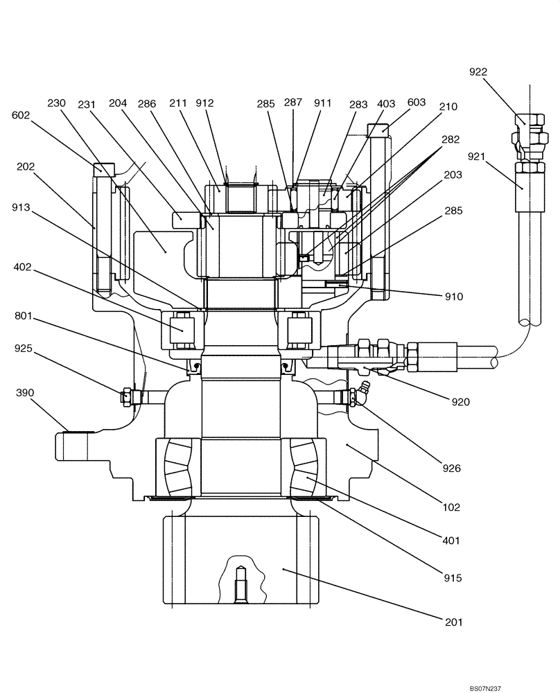
| Полем Полем | YY32W00004F1 | [1] | Гидравлический мотор | КОБКА СБОРЯ |
| 102 | НА | [1] | Не обслуживается | Для жилья |
| 201. | НА | [1] | Не обслуживается | Для вала |
| 202 | YX32W00002S202 | [1] | МЕХАНИЗМ | Коб |
| 203. | YX32W00002S203 | [4] | МЕХАНИЗМ | Коб |
| 204 | YX32W00002S204 | [1] | МЕХАНИЗМ | Коб |
| 210. | YX32W00002S210 | [3] | МЕХАНИЗМ | Коб |
| 211. | YX32W00002S211 | [1] | МЕХАНИЗМ | Коб |
| 230. | YX32W00002S230 | [1] | ПЕРЕВОЗЧИК | Коб |
| 231. | НА | [1] | Не обслуживается | Для перевозчика |
| 282 | YX32W00002S282 | [4] | ПРИКОЛОТЬ | Коб |
| 283. | НА | [3] | Не обслуживается | Для булавки |
| 285 | YX32W00002S285 | [7] | ТАРЕЛКА | Коб |
| 286 | YX32W00002S286 | [1] | Шайтика | Коб |
| 287 | YX32W00002S287 | [3] | ТАРЕЛКА | Коб |
| 390. | НА | [1] | Не обслуживается | Для имени таблички |
| 401. | YX32W00002S401 | [1] | РОЛИКОВЫЙ ПОДШИПНИК | Коб |
| 402 | YX32W00002S402 | [1] | РОЛИКОВЫЙ ПОДШИПНИК | Коб |
| 403. | YX32W00002S403 | [3] | ИГОЛЬЧАТЫЙ ПОДШИПНИК | Коб |
| 602. | ZS23C12100 | [8] | Cap -Sscew, Hex Docket Head, M12 x 100 мм | KOB VINT M12X1.75x100 мм |
| 603. | 2436U1457S171 | [2] | ВИНТ | Коб |
| 801. | YX32W00002S801 | [1] | Масляное уплотнение | Коб |
| 910. | 2453U276S287 | [4] | ПРИКОЛОТЬ | KOB Spring |
| 911. | 2441U398S820 | [3] | RING | KOB SNAP, замененный номером детали: ZR16X03000 |
| 912. | Zr16x02500 | [1] | RING | Kob retaining - id 23,2 x od 25 x th 1,2 мм |
| 913. | Zr16x06500 | [1] | Защелкнуть кольцо | Kob reaking - id 65 x od 81 x th 2,5 мм |
| 915. | YX32W00002S915 | [1] | ТЮЛЕНЬ | Коб заменен номером детали: EW32W00003S915 |
| 920. | YX32W00002S920 | [1] | Адаптер | Коб |
| 921. | YY32W00004S921 | [1] | ШЛАНГ | Коб |
| 922. | YX32W00002S922 | [1] | ЗАТЫКАТЬ | Коб |
| 925. | YX32W00002S925 | [1] | Передышка | Коб |
| 926. | YX32W00002S926 | [1] | Смазочный сосок | Коб |
| К. | YX32W00002R100 | [1] | Ремонтный комплект | KOB содержит пункты 231x1 и 283x3 |
| P Art название | SK130-8 SK140 Swing Gearbox | |||||
| Оборудование | Подать заявку на экскаватор Hyundai | |||||
| Часть №. | YY32W00004F1 | |||||
| №1 зубы сплайки солнца | 18 сплайнов | |||||
| Свинг -шестернит зубы | 13 т | |||||
| Условие предмета | Новый | |||||
| Логотип | ФУНТ | |||||
| Вес брутто | - | |||||
| Могил | 1 шт | |||||





| Поступок | ЧАСТЬ НЕТ | QUTY | Имя детали | Комментарии |
|---|---|---|---|---|
| Полем Полем | YY32W00004F1 | [1] | Гидравлический мотор | КОБКА СБОРЯ |
| 102 | НА | [1] | Не обслуживается | Для жилья |
| 201. | НА | [1] | Не обслуживается | Для вала |
| 202 | YX32W00002S202 | [1] | МЕХАНИЗМ | Коб |
| 203. | YX32W00002S203 | [4] | МЕХАНИЗМ | Коб |
| 204 | YX32W00002S204 | [1] | МЕХАНИЗМ | Коб |
| 210. | YX32W00002S210 | [3] | МЕХАНИЗМ | Коб |
| 211. | YX32W00002S211 | [1] | МЕХАНИЗМ | Коб |
| 230. | YX32W00002S230 | [1] | ПЕРЕВОЗЧИК | Коб |
| 231. | НА | [1] | Не обслуживается | Для перевозчика |
| 282 | YX32W00002S282 | [4] | ПРИКОЛОТЬ | Коб |
| 283. | НА | [3] | Не обслуживается | Для булавки |
| 285 | YX32W00002S285 | [7] | ТАРЕЛКА | Коб |
| 286 | YX32W00002S286 | [1] | Шайтика | Коб |
| 287 | YX32W00002S287 | [3] | ТАРЕЛКА | Коб |
| 390. | НА | [1] | Не обслуживается | Для имени таблички |
| 401. | YX32W00002S401 | [1] | РОЛИКОВЫЙ ПОДШИПНИК | Коб |
| 402 | YX32W00002S402 | [1] | РОЛИКОВЫЙ ПОДШИПНИК | Коб |
| 403. | YX32W00002S403 | [3] | ИГОЛЬЧАТЫЙ ПОДШИПНИК | Коб |
| 602. | ZS23C12100 | [8] | Cap -Sscew, Hex Docket Head, M12 x 100 мм | KOB VINT M12X1.75x100 мм |
| 603. | 2436U1457S171 | [2] | ВИНТ | Коб |
| 801. | YX32W00002S801 | [1] | Масляное уплотнение | Коб |
| 910. | 2453U276S287 | [4] | ПРИКОЛОТЬ | KOB Spring |
| 911. | 2441U398S820 | [3] | RING | KOB SNAP, замененный номером детали: ZR16X03000 |
| 912. | Zr16x02500 | [1] | RING | Kob retaining - id 23,2 x od 25 x th 1,2 мм |
| 913. | Zr16x06500 | [1] | Защелкнуть кольцо | Kob reaking - id 65 x od 81 x th 2,5 мм |
| 915. | YX32W00002S915 | [1] | ТЮЛЕНЬ | Коб заменен номером детали: EW32W00003S915 |
| 920. | YX32W00002S920 | [1] | Адаптер | Коб |
| 921. | YY32W00004S921 | [1] | ШЛАНГ | Коб |
| 922. | YX32W00002S922 | [1] | ЗАТЫКАТЬ | Коб |
| 925. | YX32W00002S925 | [1] | Передышка | Коб |
| 926. | YX32W00002S926 | [1] | Смазочный сосок | Коб |
| К. | YX32W00002R100 | [1] | Ремонтный комплект | KOB содержит пункты 231x1 и 283x3 |